Product Summary
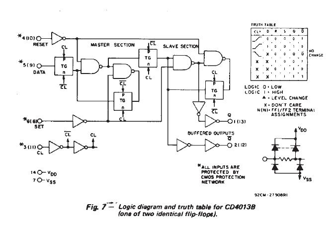
The CD4013BF3A is a CMOS dual D-type flip-flop. It consists of two identical, independent data-type flip-flops. Each flip-flop has independent data, set,reset, and clock inputs and Q and Q outputs. The CD4013BF3A can be used for shift register applications and by connecting Q output to the data input, for counter and toggle applications. The CD4013BF3A is used in registers, counters, control circuits.
Parametrics
CD4013BPWR absolute maximum ratings: (1)DC supply voltage range: -0.5V to 20V; (2)input voltage range all inputs: -0.5V to Vdd+0.5V; (3)DC input current any one input: +/-10mA; (4)power dissipation per package: 500mW; (5)device dissipation per output transistor: 100mW; (6)operating temperature range: -55℃ to 125℃; (7)storage temperature range: -65℃ to 150℃; (8)lead temperature during soldering: 265℃.
Features
CD4013BPWR features: (1)Set-reset capability. (2)Static flip-flop operation retains state indefinitely with clock level either high or low. (3)Medium-speed operation 16MHz clock toggle rate at 10V. (4)Standardized symmetrical output characteristics. (5)100% tested for quiescent current at 20V. (6)Maximum input current of 1uA at 18V over full package temperature range; 100na at 18V and 25℃. (7)Noise margin (over full package temperature range): 1V at Vdd=5V and 2V at Vdd=10V and 2.5V at Vdd=15V. (8)5V, 10V and 15V parametric ratings. (9)Meets all requirements of JEDEC tentatice standard No.13B.
Diagrams

| Image | Part No | Mfg | Description | ![]() |
Pricing (USD) |
Quantity | ||||||||||||
|---|---|---|---|---|---|---|---|---|---|---|---|---|---|---|---|---|---|---|
![]() |
![]() CD4013BPWR |
![]() Texas Instruments |
![]() Flip Flops Dual CMOS |
![]() Data Sheet |
![]()
|
|
||||||||||||
![]() |
![]() CD4013BPWRE4 |
![]() Texas Instruments |
![]() Flip Flops Dual CMOS |
![]() Data Sheet |
![]()
|
|
||||||||||||
![]() |
![]() CD4013BPWRG4 |
![]() Texas Instruments |
![]() Flip Flops Dual CMOS |
![]() Data Sheet |
![]()
|
|
||||||||||||
(Hong Kong)









